您的位置: 首页>新闻
新闻 会员 动态 政策 公平贸易 视频

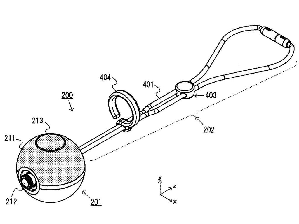
前沿 | 任天堂在日本新注册精灵球Plus五项专利

2019.12.02   浏览:865   资讯来源:深智联
0

虽然推出已经有一年,任天堂在日本又新申请了几项“游戏控制器”类专利,用于精灵球Plus设备。总计五项专利都是为精灵球Plus服务。后者是去年和《去吧,皮卡丘/伊布》同时推出的额外NS控制器,可用于控制游戏(剑/盾未支持)、传输精灵、通过光效声响和震动进行互动、带出去游玩练级等。

专利描述大致如下:

-在球面控制器中合理安排元件;

-运用球面控制器启动各种操作;

-改进游戏控制器中发光结构的自由度

-提供部件正确排列在基本为球形面板上的游戏控制器

从描述上来看,基本上任天堂注册这些专利是为了防止山寨品的出现,也有可能意味着在未来更多的利用该控制器——毕竟精灵球Plus在《宝可梦:剑/盾》的表现堪称鸡肋……

最后,通过解剖图我们可以发现精灵球里面是装不下精灵的。

联系方式

深圳市智能穿戴产业联合会

  • 地点:深圳市福田区保税区市花路3号 花样年福年广场B栋一单元302室
  • 电话: 136 9211 0349
  • 座机:82907447
  • 邮箱:fsw@ewatch.cn