消息 | 华为智能穿戴媒体品鉴会,引领运动潮流
2018-08-22
华为运动健康生态圈以手机和智能穿戴为核心,从运动、睡眠、体重、压力、健康行为等领域改善用户的健康。
新品 | 欧亚经济数据库曝光苹果表新机型,正在缩减其智能手表产品线。
苹果最近在欧亚经济数据库上提交的一份文件中列出了6款新型苹果手表,暗示有关苹果手表系列4将于今年秋季上市的传言可能是正确的。而且此前提交的文件中包括8款机型,因此看起来今年苹果正在缩减...
消息 | 华米递交成绩单,营收13.46亿 净利润增长160.8%
小米生态链企业华米科技在今天发布了2018年第二季度及半年业绩成绩单。该成绩单显示,在2018上半年,华米科技的营业收入达到了13.46亿元,同比增长63.7%,超过了预期上限。 半年的时间,华米科技...
消息 | 苹果又遭起诉:Apple Watch求救功能被指剽窃
2018-08-21
健康功能是Apple Watch作为智能可穿戴设备的一项基本功能,并且苹果也以此为突破口,不断增强这一方面的功能,以区别于普通的智能设备。近日,苹果就因为Apple Watch的健康功能遭到了起诉。 ▲...
消息 | 荣耀818揽获智能手环品类双料冠军,真材实料铸就卓越品质
新品 | Fitbit最新运动手环Charge 3加入了游泳追踪功能
是的,Fitbit没有忘记他们的智能手环产品线。今天,该公司公布了 Charge 系列健身手环的最新产品——Fitbit Charge 3。 Charge 3 有一块垂直黑白屏,屏幕整体形状和大小和上一地产品基本一致...
观点 | 2020年我国虚拟现实产业市场规模将超900亿元
中国电子信息产业发展研究院副院长王鹏20日说,2017年我国虚拟现实产业市场规模已达160亿元,同比增长164%,预计到2020年市场规模将超900亿元,年复合增长率达125.3%。工信部将支持虚拟现实核心关键技术及产品研发,推进虚拟现实技...
消息 | AR眼镜厂商Vuzix Q2财报亮眼:公司收入翻一倍,M30销售额翻三倍
2018-08-20
Vuzix成立于1997年,专注于智能眼镜生产,旗下产品包括智能眼镜M100、M300,以及AR眼镜Vuzix Blade。 Vuzix总裁兼首席执行官Paul Travers说:“随着智能眼镜AR产品的不断扩大以及新机会的到来...
新品 | 支持NFC移动支付:Fitbit Charge 3智能手环更多信息曝光
8月初,国外网站曝光了全新的Fitbit Charge 3运动手环的谍照,并表示这款手环的发售时间为今年的IFA大会。现在,外媒带来了关于这款手环的更多信息。 来自Android Authority的消息显示,Fitbi...
前沿 | 清华研发“电子皮肤” 可测人体信号
贴于人体与物体表面的定制化石墨烯“电子皮肤”。受访者供图 贴附一片超薄的“电子皮肤”便能探测出人体生理信号,将一些疾病防患于未然。这一科幻场景或许将在不远的未来变成现实。 近日...
前沿 | 中国自主研发外骨骼机器人 截瘫患者穿上可自如行走
为林寒四肢运动提供能量的这款红白相间的“钢铁侠”,是电子科技大学机器人研究中心执行主任程洪团队研发的第四代外骨骼机器人。 电子科技大学的外骨骼机器人研发始于2011年。当时,程洪刚在四...
消息 | 苹果或将开发健康数据处理芯片,将用在新款Apple Watch上
2018-08-17
美国媒体CNBC发现,苹果的招聘页面上出现了几个新职位,这些新职位有可能与该公司未来的新产品有关。具体来说,苹果目前正在招聘与传感器处理器以及健身传感器开发有关的职位。CNBC认为,这可能意...
前沿 | MIT可穿戴黑科技:你的衣服可由电子设备编织而成
你知道吗?你的衣服可由电子设备编织而成。近日,麻省理工学院的研究人员在可穿戴技术方面取得重大突破,成功将包含了发光二极管(LED)和光敏二极管在内的高速光电子半导体器件嵌入纤维内,织成耐水洗的...
新品 | OPPO O-Free蓝牙无线耳机今日开售:渐变色设计,随行翻译
在6月底的OPPO Find X国行发布会上,OPPO还发布了一款O-Free蓝牙无线耳机,这款耳机售价699元,在8月16日(今天)正式开售。 OPPO O-Free蓝牙无线耳机采用人体工学设计,耳部轮廓和耳机更加贴合,同时...
前沿 | 谷歌或推出可穿戴式健康和健身助理“Google Coach”
近年来,谷歌在人工智能领域投入不少精力,据外媒 androidpolice 报道,谷歌正在研发一个名为“Google Coach”的可穿戴式健康和健身助理。 据悉,这款设备暂被命名为“Google Coach”,该项目在...
新品 | 颜值超能打!续航更持久!三星智能手表Galaxy Watch国行版来了
8月15日,三星电子在上海举办了中国区新品上市发布会,除了万众期待的年度旗舰三星Galaxy Note9之外,还发布了国行新款智能手表Galaxy Watch。作为Gear S3时隔两年之后的继任者,这款产品一经亮相就吸...
新品 | 黑科技文胸 自动实时调节大小松紧度
2018-08-16
虽说生命源于运动,但对于大胸妹子来说,身体带来的不适还是不容忽视。这不,Reebok就在最近推出了一款新型PureMove运动文胸,依靠黑科技为妹子们带去最舒爽的运动体验。 PureMove运动文胸舒适在哪...
观点 | 别指望骁龙Wear 3100可穿戴芯片许高通一个灿烂明天?
两年前,高通发布了骁龙Wear 2100,这是一款针对智能手表的定制SoC,旨在代替其早先销售给智能手表制造商的骁龙400系列SoC。 骁龙400系列SoC还被用在低端智能手机中,相比之下,Wear 2100 SoC针对可...
消息 | 武汉率先试用“智能安全绳” “蜘蛛人”高空作业时自动锁死
因建筑工人不当或违规操作导致的高处坠落伤亡,成为建筑安全管理上的“痛点”。近日,一套国内最新研发的高空作业智能安全管理系统在汉通过试点测试,即将全市推广应用。武汉建筑工人有了全...
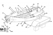
前沿 | 微软HoloLens 2.0设计首次曝光
2018-08-15
微软新一代的HoloLens 2.0混合现实眼镜预计将在2019年Q1发布,不过微软保密性很高,HoloLens 2的外观设计还未泄露。现在一份微软新的专利曝光了新一代HoloLens的设计。 在2018年3月30日,微...
合作机构
联系方式