前沿 | VR/AR可穿戴手套CaptoGlove参展E3 2018
2018-06-15
CaptoGlove是一款专为虚拟现实(VR),增强现实技术(AR)和混合现实技术(MR)而设计的可穿戴手套,参展了2018电子娱乐展(E3)大会。 作为无线控制器,CaptoGlove可以让用户以更自然和人性化的方式进...
前沿 | E3 2018:Cybershoes帮助用户在虚拟现实中行走和奔跑
在E3 2018 展上Cybershoes GmbH带来了一双特别的鞋子,该鞋子的用处是在虚拟环境下让用户模拟行走的感觉。 Cybershoes的解决方案旨在帮助用户在虚拟现实中行走和奔跑。以摆动双脚的形式...
新品 | 华硕的Windows MR头盔悄悄到来 造型酷炫定位高奢
消息 | 三星下一代Gear S4手表电池容量大幅提升,还有金色版本
新品 | 颂拓发新智能腕表:120小时超长续航
2018-06-14
近日,SUUNTO(颂拓)发布了旗下全新的旗舰智能腕表SUUNTO 9,这款全新的智能手表主要针对户外运动爱好者,相对前代,设计风格基本没有变化,主要的变化是内在功能和续航都有较大提升,号称GPS 开启时可持续工...
消息 | 小米生态链第一股:可穿戴巨擘华米科技暴涨17.26%
继拒绝支持七国集团峰会联合公报之后,美国总统特朗普在社交媒体推特上连续就贸易问题抨击加拿大总理特鲁多,美国与西方盟友关系“跌至低谷”。相反的是,美国股市周一小幅收涨,投资者在一定程度上摆...
消息 | HoloLens 2 最新消息:或将于2019年Q1上市
近日,据外媒报道,微软的计划仍然是在2019年Q1推出第二代Hololens设备,传言该款设备代号为Sydney。 另外据一份相关文件显示,第二代Hololens将更轻,佩戴起来也会更舒适,而且对全息显示器进行了...
前沿 | 手持式皮肤3D打印机 修复深度伤口只要2分钟
时至今日,大到航空航天小到孩子手中的玩具,3D打印对大众而言早已不是什么新鲜事。落实到产业层面,3D打印已被广泛的应用到制造业、军工、汽车、医疗等众多领域当中。以医疗为例,如今医疗行业已初步...
观点 | 可穿戴技术:让人感到可怕却又沉迷
2018-06-13
由于麻省理工学院和杜比实验室的研究人员和其他同仁的努力,不久的将来可以通过可穿戴设备分析阅读和情绪。 如果你想象一下,当你家大哥带着Alexa、Watson或者其他尚未开发的未来派可穿...
前沿 | 可穿戴座椅:让你想坐就坐
很多工作都需要员工几乎整天站立操作,不仅劳动强度大,而且长时间站立会对身体造成不可逆的伤害,例如汽车生产线上的工人或者柜台后的营业员,平时很少有时间坐下来,而且经常可能根本没地方可以坐。 ...
新品 | Fitbit首款儿童手环上市,儿童健身“追踪器”
消息 | 可能秋季发布 新一代Apple Watch曝光:侧键不可按压了
2018-06-12
据多家知名媒体引述Fast Company的报道,新一代的Apple Watch将进行一些关键性的调整,包括现有的右侧物理按键替换为固态型,也就是线性马达模拟触感,类似iPhone 7上开始使用的不可按压Home键。 ...
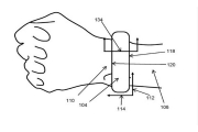
前沿 | 苹果获得新专利,可通过腕表上的传感器测量血压
近日,据国外媒体报道,苹果获得了一项专利,让设备具有测量血压的功能。而从专利图来看,这一设备极有可能是智能手表。 据悉,苹果的血压监测系统包括压力传感器、可膨胀部件、以及膨胀部件的驱...
新品 | 小米有品首发峰米快门式3D眼镜:120Hz刷新无残影
近日,小米有品首发了峰米快门式3D眼镜,售价139元,完美匹配米家激光电视(9999元)等超短焦激光投影。 该3D眼镜还主打快速刷新率、画面无残影、40小时续航、兼容视力配镜等特色。 其采用120Hz快...
新品 | 斐讯智能运动手环W3发布:999元/首款半反半透屏
2018-06-11
6月8日,斐讯在三亚举办“智型致美,领潮未来”新品发布会,推出了一款智能运动手环W3,定价999元,支持“0元购”。 官方称,斐讯智能运动手环W3是国内第一款采用半反半透屏的运动手环,永不灭屏,阳光越强...
新品 | 透明悬浮显示屏智能手表:机械与智能完美合体
来到智能时代,传统机械表似乎没落了,但实际上这两者并非水火不容。一个创业公司开发了这款“二合一”智能手表,为现今的智能手表界带来一股清新之风。 这只名为mim X的手表已经众筹成功,起...
前沿 | 智能“手环”让聋人手语发声 东大学生获全国总冠军
2018-06-09
一枚小巧的 " 手环 ",通过连接服务器就可以让聋人的手语发声,并且还能把外界语音转化为文字,实现聋哑人和外界的无障碍沟通。 5 月 17 日至 18 日,2018" 未来力大会 " 大学生社会创新大...
前沿 | 腾讯发布虚拟人“Siren”,能同步模仿用户举动
日前,腾讯发布了一款名为“Siren”的虚拟人,能同步模仿用户的一举一动。 该款机器人由腾讯、Epic Games、Cubic Motion和3Lateral企业联合打造,Siren的所有动作表情都由实时捕捉和渲染形成...
新品 | 神秘创企Magic Leap披露AR头盔细节 计划今年发布
2018-06-08
据VentureBeat报道,自从2017年年底以来,已经成立7年的增强现实(AR)初创公司Magic Leap开始陆续推出了其AR头盔和电脑设备的诸多细节。今天,Magic Leap展示了其One Creator Edition AR头盔的三个关键...
消息 | 苹果为Apple Watch开发新API:可追踪帕金森病症状
本周苹果举行了WWDC18开发者大会。根据外媒Cult of Mac的消息,苹果在本周二的一场会议期间透露到,开发了一种新的运动障碍API,可能是帕金森病的患者的福音。 IT之家获悉,这个API被称为Resea...
合作机构
联系方式