资讯

您的位置: 首页>资讯>新闻

消息 | 苹果可能在开发具备骨传导功能的AirPods

2020.08.28   浏览:1561   资讯来源:深智联

AirPods的问世引领了真·无线耳机的潮流,它也成了苹果最受欢迎的产品,降噪功能的引入更是令它如虎添翼。那么,下一代AirPods还能有哪些升级?

新的一份专利文件显示,苹果可能在开发具备骨传导功能的AirPods。

骨传导的概念并不新奇。我们知道,声音的传播需要介质,这种介质可以是空气,也可以是水或者固体,骨传导耳机,就是让声音通过喉管与耳朵之间的骨头到达听觉神经。由于不需要通过耳道传声,因此骨传导耳机不用像传统的耳机一样堵住耳朵,而是可以"敞耳聆听",不影响用户听到周围环境的声音。

市面上已经有不少骨传导耳机产品,以运动耳机居多,曾经惊艳全世界的Google Glass眼镜,也是通过骨传导技术为用户播放声音。

但骨传导有个缺点,就是在高频下工作能力不足。人耳能听到的声音范围在20赫兹到20000赫兹之间,但骨传导只对4000赫兹以下的声音有效,在更高频的范围内,音质就会受到影响。此外,骨传导耳机必须与紧贴头部,使用过程中可能出现的搔痒感会令部分用户感到不适。

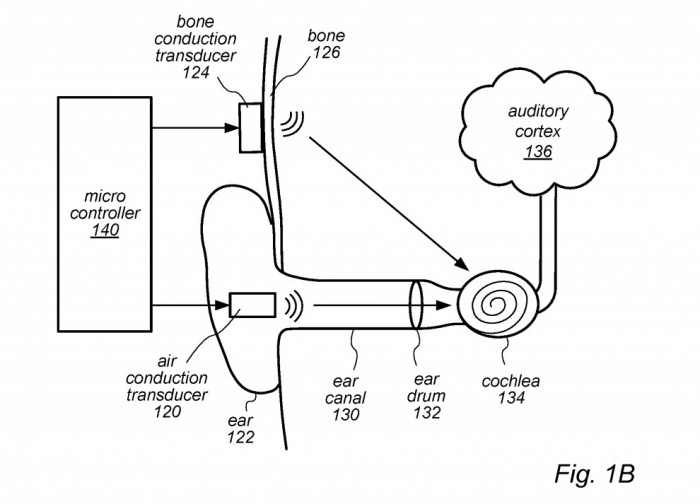
所以,苹果这个专利不是叫骨传导耳机,而是叫"使用音频压缩机的多路径音频刺激",表面上看和骨传导没什么关系,但实际上正是为了解决骨传导在高频下音质不佳的缺点。

苹果提出的解决方案是对声音信号进行过滤,将低频和中频部分用压缩器处理后通过骨传导传递,而高频信号则通过空气传输,确保传输效果。

也就是说,苹果想要的是一个既支持骨传导,又具备正常的空气传导能力的耳机,这样做的好处是在环境声音频率过高时,使用者也可以通过骨传导听清设备里传来的中低频声音。

尽管专利不一定会变成现实,但如果这项专利落地,AirPods无疑是最有可能的载体,知名苹果分析师郭明錤上个月也在分析报告中预测下一代AirPods将采用与AirPods Pro相同的外观设计并用上骨传导技术。

和苹果一样看上骨传导的还有华为。

我们在国家知识产权局的网站上找到华为去年提交的一份名为"音频输入输出方法和终端设备"的专利,同样提出了骨传导与基于空气的扬声器传导相结合的方案。

在华为的方案中,可穿戴设备根据是否靠近头骨,自动确定音频的输入/输出方式。

具体来讲,当智能手表通话时,如果检测到用户此时抬起手臂,且设备位于头骨附近,则采用骨传导,否则通过扬声器和表盘麦克风输出和输入声音。

当然,这里的手表也可替换为手环、指环等可穿戴设备。

这样的设计好处在于外放可保证音质,骨传导可满足用户私密通话的需求,还可适用于更复杂多样的环境,如在水下亦可传输声音,一举多得,提升用户体验。

如果说过去骨传导耳机还因为本身的缺陷显得有些鸡肋或用途小众的话,如今随着可穿戴设备的兴起,骨传导的应用场景也得到进一步扩展。

Facebook AR眼镜专利也 涉及到骨传导

在被看作下一代交互入口的AR领域,骨传导这种不受环境干扰传递声音的特性显然大有用武之地,Facebook去年提交的一份 AR眼镜专利就涉及到了骨传导技术的应用。

虽然并不是所有专利都能转变成商业产品,但当耳机摆脱了线的束缚,具备了防水防尘能力,也解锁了降噪功能,那么在下一代的升级中,以骨传导为代表的听音方式,看起来是厂商最有可能的发力点,最大的悬念或许在于,苹果、华为、三星这些行业领头羊谁先做出骨传导耳机了。

(本消息来源于新浪,由深智联整理发布)