前沿 | 苹果正研究如何让Apple Glass眼镜自动清洁
据 Apple Insider 报道,未来的头戴式显示器,例如“Apple Glass”,可能会自动清除阻碍佩戴者视线的灰尘。

如果你戴眼镜,还有一块布用来反复清洁它们,你可能仍然需要擦拭“Apple Glass”。然而,一项新披露的专利申请表明,苹果正在寻求自行保持设备内部的清洁。
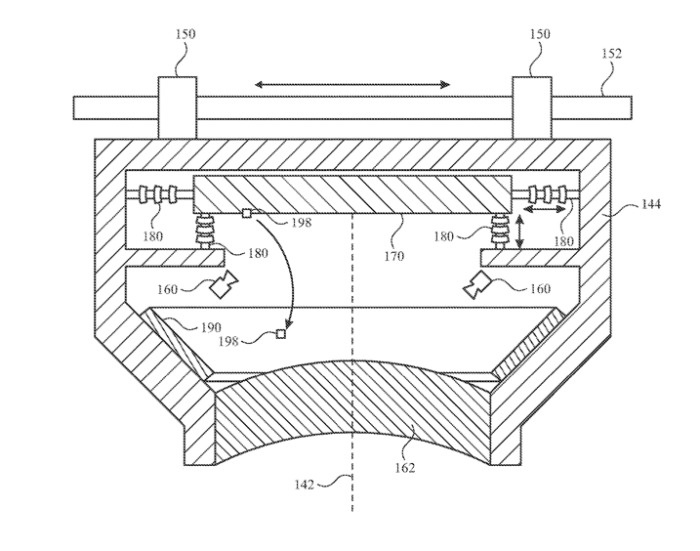
新授予的专利“头戴式设备的粒子控制(Particle Control for Head-Mountable Device)”讨论了设备自身如何从苹果所谓的“光学模块”中去除灰尘或其他碎屑。
“光学模块提供的视图质量可能取决于图像源和用户眼睛之间的光学路径的清晰度,”专利申请说。

“例如,沿光学路径的颗粒(例如灰尘、碎屑、异物和 / 或其他材料)可能会阻碍、扭曲和 / 或以其他方式对提供给用户的视图产生不利影响,”该专利继续说道。
“特别是,在显示元件包括高分辨率显示器的情况下,显示元件表面上的此类颗粒可能会阻挡整个像素和 / 或多个像素,从而使传输给用户的图像与其预期形式发生变化,”苹果说。
根据苹果的说法,这个问题只会在“头戴式设备的使用寿命期间”增加。即使设备“被密封以防止和 / 或限制基本上所有颗粒从外部环境进入”,它也可能发生。
随着时间的推移,“组件的退化、侵蚀、摩擦、磨损和 / 或老化”可能意味着“颗粒会迁移”或“聚集在显示元件上”。
苹果的提议是,该设备本身可以去除灰尘,捕捉“颗粒,这样它们就不会干扰用户对光学元件的观察和 / 或通过光学元件的观察”。可以实现这一点的一种方法是通过振动。
专利申请中的细节显示了可以移动镜头或其他光学设备以去除碎片的不同方式
“例如,显示元件和 / 或另一个光学元件可以以在其观察表面上释放颗粒的方式移动,”该专利申请说。“光学模块可以包括一个颗粒保留元件,该元件可以牢固地保留颗粒,使它们保持在光学路径之外。”
因此,“Apple Glass”可以抖落这些灰尘颗粒,并将它们收集到佩戴者看不见的安全地方。当设备检测到问题或佩戴者选择使用它时,这种振动可以自动完成。
该专利归功于包括 Ivan S。 Maric 在内的五位发明家。他之前为苹果所做的工作包括设计 MacBook Pro 如何采用 HomePod 风格感应其环境。